1. 前言
基于全新的架构和理念,由表及里,我校升级了全新的CMS系统——重新构建了百余项功能:从系统架构,到用户界面;从安全防护,到平台扩展,都一一进行了优化和调整。简化操作流程,增加快捷通道,优质的交互体验。新版本的新闻发布系统为创建更智能的新媒体内容管理平台,并使我们的工作变得简单、高效。
请管理员老师注意一定要用谷歌、火狐或IE10以上版本的浏览器登陆系统。(此系统不支持低版本的IE和360、QQ浏览器)。
网络信息中心提供60套模板,供各个部门、院系改版使用,也可以自己设计,
模板网址:http://netim.cfxy.cn/jzmb/
请选择确认改版后联系我们,联系电话8300552,王老师。
2. 系统入门
2.1 后台界面说明
2.1.1 登录界面
新版发布平台地址:(请使用谷歌或火狐浏览器登陆)
http://cms.cfxy.cn/cms/
后台登录界面展示如下:

在登录页面输入正确的用户名、密码和验证码,点击【登录】,就可以进入系统的后台。
管理员用户登录后,界面如下图所示:

2.1.2 顶部主功能切换区
顶部主功能切换区以切换的方式,不同权限的用户,顶部功能按钮不同,如:
站点管理员可以进行站点的响应设置,主要分<站点管理>、<模板管理>、<内容管理>。

编辑用户可以进行文章的管理,主要分<新建文章>、<草稿箱>、<我的文章>

顶部主功能区右侧显示当前用户所管理的所有站点,点击
按钮可以直接切换,点击站点名称可直接跳转到对应站点得管理界面:

2.1.3 功能区
系统左侧的主菜单以树形菜单方式列出了当前主功能的子菜单,如系统配置下的子菜单,系统管理的子菜单的各种功能设置等。
2.2 用户信息

登录系统后,可查看、修改个人信息,点击右侧用户名,可显示用户基本信息、修改密码、我的日志及退出系统选项。
2.2.1 基本信息

点击基本信息,用户可以修改昵称、电子信箱、手机、部门、头像等信息,用户名不允许修改。
2.2.2 修改密码

用户可以随时修改密码,输入旧密码、新密码及确认密码,点击保存,密码修改成功。
密码的设置规则为:字母,数字,特殊字符三个必须包含两个,长度在6-50之间。
2.2.3 我的日志

2.2.4 退出系统

点击退出系统,直接退出到登录界面。
3. 功能详解
3.1 内容管理
3.1.1 新建文章

点击<功能区>的【新建文章】,用户可以一键创建并发布文章,快速高效。

在新建文章界面,用户可以快速选择发布栏目,系统会记录最近发布的栏目供用户选择。

文章其他字段功能,详见内容管理中新建文章。
3.1.2 内容管理界面

进入cms8后台,点击<功能区>的【内容管理】进入内容管理页面,选择任意栏目,可进行文章的录入、编辑、修改、签发、发布等操作。
如图:

3.1.2.1 选择栏目
点击左侧站点名称,右键【全部展开】,选择目标栏目,如图:

会出现栏目全部展开的树形图, 如下图:

3.1.2.2 新建稿件
3.1.2.2.1 手动录入

点击【新建】出现高级编辑器界面,如图:

标题:标题为必填选项,如有特殊要求,标题可设置显示颜色。


工具栏:可以编辑文字的大小、颜色、字体,插入媒体、图片等,如图

工具栏特色详解:
撤销:对刚进行的操作进行撤销;
重做:恢复撤销前的操作;
格式刷:复制所选内容的格式,应用到不同位置的内容中。
清除格式:清除所选内容的所有格式,只留下无格式文本。
自动排版:按照设定的格式,一键排版。

word图片上传:word中复制粘贴图文混排的内容,通过此按钮自动上传。

转存步骤:1、点击顶部复制按钮,将地址复制到剪贴板;2、点击添加照片按钮,在弹出的对话框中使用Ctrl+V粘贴地址;3、点击打开后选择图片上传流程。
多图上传:用户可以在文章内容中插入本地图片。




点击开始上传,图片上传成功。可以继续添加图片,也可直接确认,图片会自动显示在内容中。
上传视频:用户可以在文章添加视频文件,视频支持MP4、flv格式,支持从本地上传、选择站点视频库或系统视频库中的视频。视频中可以设置视频封面,可以设置视频的大小。

插入图片库中图片:用户可以在文章添加图片库中的图片,勾中图片点确定即可添加到文章内容中,如图:

风格图片:系统根据使用者需要,总结出图片的多种图片版式供用户选择,选择图片版式,插入到文章内容中,用户只需要替换本地图片即可:

3.1.2.2.2 word自动导入

系统支持自动导入本地的word格式文档,将文档名称作为标题,文档的内容作为文章的内容,自动保留原文档格式。


导入后的文章为新稿状态,按照普通文章的流程进行相应的发布操作即可。
3.1.2.3 文章发布
允许编辑人员编辑并发布文章,查看并编辑处于新稿、已编、已签、已发、已撤、回收站等多种状态的文章内容。
选择处于新稿、已编状态下的稿件----选中文章----操作中的【内容签发】

或者选择顶部的【签发】按钮,点击确定,可以对新稿、已编的文章进行批量签发:

这时稿件处于已签状态—选中文章----操作中的【内容发布】
文章还可设置定时发布,点击文章列表对应的
按钮,可以设置定时发布的时间,状态已签的文章会按照设置的定时发布时间自动发布。

3.1.2.4 文章撤销
已签、已发的文章进行修改需要撤销稿件后编辑。
撤销方法:
选中文章----操作中的【撤销稿件】

点击
【编辑】进行修改----点击保存后,进行再次发布。
3.1.2.5 文章移动
文章状态为<新稿><已编>状态时,可以进行文章的移动。
移动方法为:选择文章----点击【操作】—选择【移动】--选择目标栏目--【确定】



3.1.2.6 文章转发
是指将一篇文章转发到另一栏目中,在两个栏目都有显示,点击后显示仍为原栏目原文章,转发文章的状态和原文章状态保持一致。


3.1.2.7 文章重用
是指将重用文章会使用被重用栏目的模板,来源也为被重用栏目。


3.1.2.8 文章复制
复制的文章在新的栏目下为新稿状态,保留原文章的发布时间,复制后的文章与原文章无关联,修改文章内容不影响原文章。


3.1.2.9 删除文章
文章为<已签>和<已发>状态时是不允许进行删除的,文章在新稿、已编或已撤状态可以进行删除操作:

选择要删除的文章,点击操作按钮中的【删除】,删除后的文章可以在回收站中找到,点击对应文章列表中的 按钮,进入当前栏目对应的回收站:

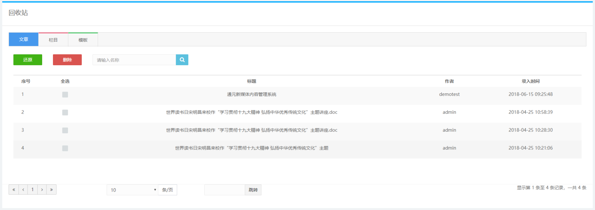
选中回收站中的文章,可以进行还原或彻底删除操作,选择还原,文章则回到原文章列表,选择删除,文章将从系统中彻底删除,无法恢复。

3.1.3 草稿箱

【草稿箱】的作用是新建或存放一些文章,可以修改,可以转移到站点的栏目,作为站点栏目下的文章。可以选择草稿箱里的多篇文章,转移到指定的站点下的栏目下,按取消则返回。

3.1.4 我的回收站

回收站会暂时存放用户删除的文章、栏目和模板,在回收站里用户可以进行文章、栏目、模板的还原,也可以从数据库中彻底的删除。

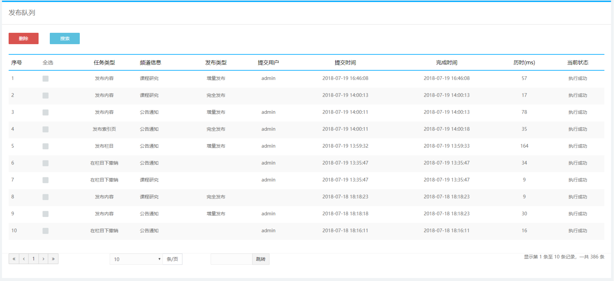
3.1.5 站点发布队列

发布队列也就是对执行发布操作进行监控,当用户发布文章的时候,就添加到了发布队列。
用户可以点击搜索按钮对发布状态及发布类型进行搜索:

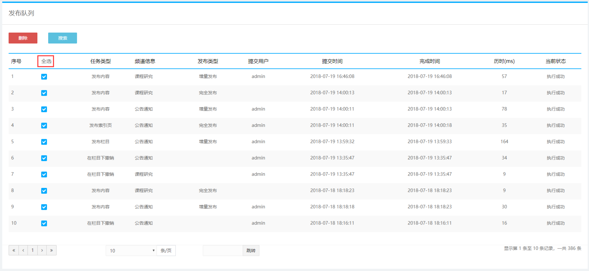
用户可以点击全选按钮选中列表文章,批量删除队列内容。
